Доставка
Оплата
Поставщикам
Контакты
+7 (495) 748-97-74
Москва
Корзина
Войти
Каталог запчастей
По номеру
По каталогу
По номеру
Войти
Корзина
Генераторы
Стартеры
Вентиляторы
Фильтры
Оборудование
Гидравлические системы
Двигатель
Кондиционирование
Крепёж
Подвеска
Подшипники
Ременный привод
Рулевое управление
Система выпуска ОГ
Система зажигания
Система охлаждения
Система подачи топлива и Подготовка топлива
Системы комфорта
Тормозная система
Электрооборудование
Трансмиссия
Прочее
Генераторы
Диодные мосты
Диоды
Диоды дополнительные
Изоляторы
Инструменты
Коллекторы генераторов
Крепёж генератора
Крышки ПВХ
Крышки генератора задние
Подставки под подшипник
Крышки генератора передние
Стопоры подшипников генератора
Масляные насосы
Части насосов
Подшипники генератора
Регулятор-диодный мост
Регуляторы напряжения
Чипы
Ремкомплекты генератора
Роторы генератора
Части роторов
Сальники
Статоры генератора
Части генератора прочее
Шкивы, крыльчатки генератора
Крыльчатки генератора
Обгонные муфты генератора
Части шкивов
Щётки генератора
Щёткодержатели генератора
Каталог
Доставка
Оплата
Поставщикам
Контакты
Распродажи
+7 (495) 748-97-74
Москва
Мои заказы
Взаиморасчеты
Настройки
На главную
Каталог
Генераторы
Регуляторы напряжения
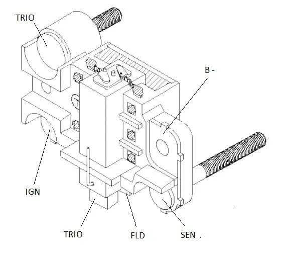
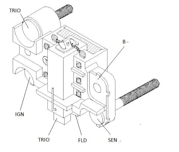
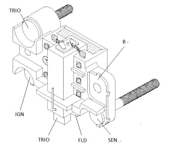
Регулятор TT31479 PRO
Регулятор TT31479 PRO
Нет в наличии
Артикул
TT31479 PRO
Напряжение
12 V
Рабочее напряжение
14.5 V
Подключение
L-IG-S
Тип питания регулятора
Trio
Режим работы
A
Расстояние между монтажными отверстиями
43 mm
Исполнение
MITSUBISHI
Все характеристики
Кросс-номера и комплектующие
TT31479
TT
TT31479 PRO
TT
IM288
ASKA
136742
CARGO
F032136742
CARGO
6659393
MANDO
VR-H2009-75
MOBILETRON
Все кроссы
В агрегатах
Справочная информация
12V;Mando; ;